Wyszukiwarka
399,00 zł
324,39 zł
289,00 zł
234,96 zł
365,00 zł
296,75 zł
33,00 zł
26,83 zł
166,00 zł
134,96 zł
6,70 zł
5,45 zł
166,00 zł
134,96 zł
147,00 zł
119,51 zł
Kondensator silnikowy MKSP-8, 3,0µF 62680
Cena regularna:
Cena regularna:
towar niedostępny
dodaj do przechowalni
Opis
Kondensatory polipropylenowe prądu przemiennego do silników elektrycznych serii:MKSP-8.
Wymagania:
- Klasa bezpieczeństwa: - P0
- Kondensatory spełniają normy: - PN-EN 602252-1.
- Wyrób spełnia wymagania dyrektywy RoHS (2002/95/we).
Dane techniczne:
|
Kategoria klimatyczna
|
25/85/21/400V~ wg PN-EN 60068-1
25/70/21/450V~ wg PN-EN 60068-1 |
|
|
Pojemność znamionowa
|
3,0µF
|
|
|
Tolerancja pojemności
|
± 5 %; ± 10 %
|
|
|
Napięcie znamionowe
|
400V / 450V / 50Hz
|
|
|
Tangens konta stratności przy 1V / 1kHz
|
≤ 0,001
|
|
|
Temperatura pracy:
|
+85ºC / 400V~
+70ºC / 450V~ |
|
|
Wytrzymałość elektryczna między końcówkami:
|
2 UR - 60s
|
|
|
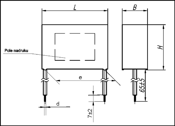
Wymiary:
|
||
|
B±1
|
17,9mm
|
|
|
H±1
|
33,0mm
|
|
|
L±1
|
41,4mm
|
|
|
d±0,2
|
0,8mm
|
|
|
e±0,5
|
37,5mm
|
|
Dane techniczne
| Pojemność kondensatora | 3µF |